Panabit Support Board!

 找回密码
 注册

QQ登录

只需一步,快速开始

查看: 1822|回复: 0

NTM v25.12.30(核心代号“唐r7p6”)版本发布

[复制链接]
发表于 2025-12-30 18:23:27 | 显示全部楼层 |阅读模式
一. 新增功能
1.1跨境监测溯源场景
1.1.1联动阻断支持多PA
在r7p5版本联动阻断功能的基础上,本次更新实现了NTM对接多台PA进行跨境联动阻断。
image005.png
(*联动阻断配置步骤详见《NTM联动阻断配置指导手册》)

1.1.2联动阻断支持根据IP+端口阻断
在某些情况下,跨境中转节点和正常互联网服务会共用同一个服务器,若将该IP地址加入至联动阻断节点列表中,可能会将正常互联网流量与跨境流量一起阻断,对用户正常上网造成影响。本次更新后,支持将IP+端口组合加入至阻断节点列表中,PA网关也会将IP地址+端口创建为自定义协议作为阻断条件,以实现更精细化的阻断,避免正常业务的中断。
image007.png
image009.png
image011.png



1.1.3联动阻断节点白名单
开启自动阻断后,可能会将某些正常合规的IP自动加入至阻断名单,从而对正常业务造成影响。此时,可将合规IP地址段加入至阻断节点白名单,白名单IP不会同步至PA进行阻断。
image013.png

1.1.4跨境识别过滤内网网
目前跨境模块会将内到外和外到内两个方向的跨境会话均进行记录,在某些场景下,外到内的会话(源IP为内网,目的IP为外网)不需要也不能进行记录。为方便统计和分析,可将内网网段进行过滤,源IP为非内网IP的跨境会话均不会记录在设备上。
image015.png

1.2自动报表APP
1.2.1跨境分析模块支持输出TOPN用户数据
自动报表支持由用户自定义配置输出TOP N用户的数据(仅对跨境分析模块生效)。
image017.png

1.2.2跨境分析模块显示链路数据
在多分支场景下NTM部署在本部采集分支单位流量,通过链路名称区分分支单位。输出报表时,需要在报表中展示链路数据,以区分不同分支跨境分析模块,本次更新报表跨境模块中增加显示链路数据。
image019.png

1.2.3跨境分析模块显示用户账号数据
跨境分析模块显示增加用户账号字段,方便汇报时进行追踪溯源。
image021.png



1.3威胁情报
1.3.1历史命中日志查询增加“与或非”过滤条件
支持通过“与或非”条件关系,对查询条件进行灵活组合。
image023.png

1.4其他
1.4.1新增专线带宽监控大屏
对多分支机构,专线带宽大屏能够实时监控各分支机构与总部或各分支机构之间的通信线路的网络拥塞和健康度情况,为管理者调度网络负载提供依据。
image025.png

1.4.2数据包抓包条件增加vxlanID
数据包抓包条件增加vxlan ID,支持输入范围。
image027.png

二. 功能优化
2.1跨境监测溯源场景
2.1.1跨境大屏显示账号
跨境监测态势感知大屏,命中会话列表增加显示用户账号信息,便于实时监控溯源。
image029.png


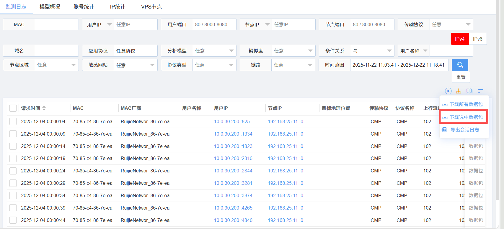
2.1.2跨境历史日志增加下载选中会话数据包
跨境历史日志,支持选中会话下载报文,便于批量下载进行原始报文取证。
image031.png

2.1.3敏感网站统计增加用户账号字段并支持导出
显示用户账号信息并支持导出,便于进行敏感网站访问统计溯源。
image033.png

2.1.4跨境溯源展示跨境频次与访问站点结构
跨境溯源中账号统计和IP统计页面,可以根据设置的访问频次分段,展示该账号或IP在统计周期内的跨境访问频次等级,便于管理者对该用户或IP的跨境行为进行评估和分析。同时,还展示了该用户或IP访问不同类型网站的次数,便于管理者做出相应处置决策。
image035.png
image037.png


2.2审计日志
2.2.1HTTP审计增加URL统计排名
HTTP审计模块增加URL统计排名,支持按照访问次数和各状态码(HTTP 20X/30X/40X/50X)数量进行排名,同时各域名支持下钻至不同页面进行分析。
image039.png

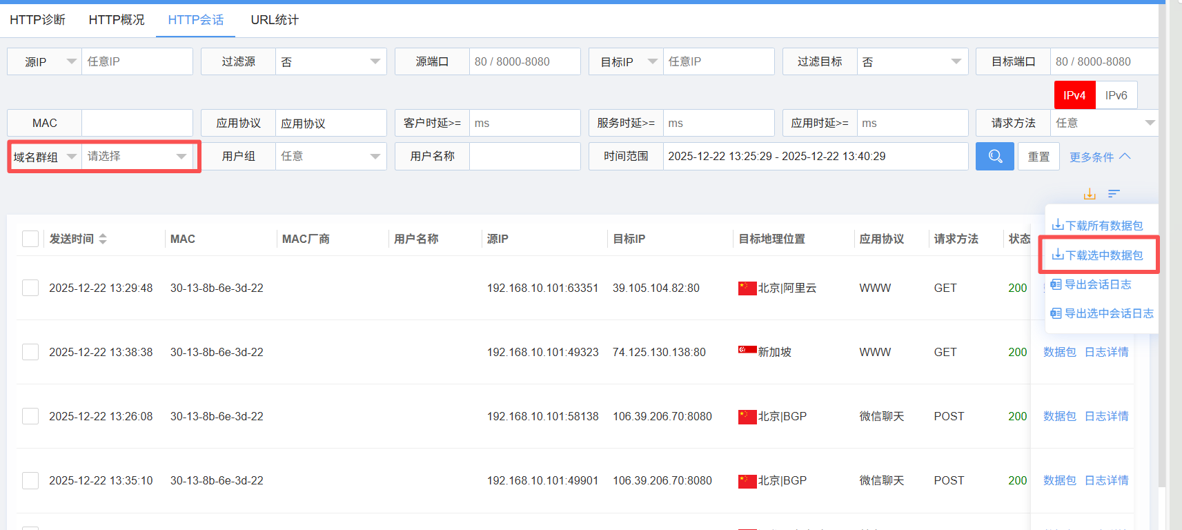
2.2.2HTTP审计日志增加域名群组查询条件和下载选中会话数据包
image041.png

2.2.3会话日志增加域名群组查询条件
image043.png

2.2.4被动域名日志增加域名群组查询条件,导出文件内容增加用户账号
image045.png
image047.png

2.2.5数据库审计增加SQL分析即SQL响应时延数据
新增SQL分析页面对数据库运行状态进行监控,通过筛选 IP、端口等条件,集中统计 SELECT、UPDATE 等各类 SQL 操作的执行频次,同时以趋势图直观呈现数据库的平均响应时延与 SQL 执行量变化,还可延伸查看高频 SQL、访问用户等细分维度的信息。帮助技术人员实时掌握数据库的负载情况,是保障数据库稳定运行、优化业务访问效率的重要工具。
image049.png
image051.png


2.3其他
2.3.1查询时间范围增加最近一周、一个月、半年时间范围快捷选项

image053.png


三. 界面优化
3.1会话没有数据包时进行提示
当会话查看数据包显示灰色按钮时,提示此会话数据包不存在,并且显示数据包的最小和最大索引值。
image055.png

3.2跨境监测参数配置页面优化
跨境监测溯源参数配置页面对于分析模型的描述阅读起来会有歧义,为明确说明模型开关的作用,将描述替换为以下描述:
1.“匹配港澳台”和“匹配国外”的开关,全部不开启,则全量进行匹配;
2.开启“匹配港澳台”,表示仅对去往“港澳台”的地址进行匹配;
3.开启“匹配国外”,表示仅对去往“国外”的地址进行匹配;
4.同时开启“匹配港澳台”和“匹配国外”,表示仅对去往“港澳台”和“国外”的地址进行匹配;
image057.png
若需要开启“匹配港澳台”、“匹配国外”开关,点击弹窗的”确认”后,才会开启此开关。防止用户误开启此开关,导致监测效果不佳。
image059.png

3.3链路管理增加账号对接状态显示
链路管理页面,显示每条链路对接的认证账号数量。
image061.png

四.BUG修复
  
序号
  
问题描述
解决进度
版本标识
1
TOP连接IP下钻提示找不到IP
已解决
NTM Ultra
2
时序图翻页后不显示数据包详细
已解决
NTM Ultra
3
数据库审计sql显示中文乱码
已解决
NTM Ultra
4
链路策略配置线路后不显示线路名称
已解决
NTM Ultra

五.下载地址
NTM Ultra:

您需要登录后才可以回帖 登录 | 注册

本版积分规则

QQ|Archiver|手机版|小黑屋|北京派网软件有限公司 ( ICP备案序号:京ICP备14008283号 )

GMT+8, 2026-5-14 02:08 , Processed in 0.112379 second(s), 19 queries .

Powered by Discuz! X3.4

© 2001-2023 Discuz! Team.

快速回复 返回顶部 返回列表